Timegrapher as an External Microphone (DIY)

This video demonstrates how to intercept the timegrapher's microphone signal and feed it directly to the iPhone audio input. This setup allows the watch beat sounds to be recorded, analyzed with an oscilloscope, used with watch timing apps, and so on.

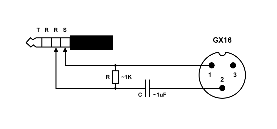
The cable is similar to the one from the Beat Amplifier article, except that here the signal is fed to the iPhone via the Lightning to 3.5 mm Headphone Jack Adapter. For this, some passive elements are added:


Use the information provided at your own risk! Articles are based on the popular No.1000 / No.1900 timegrapher devices. For other models, do your own research.


[ Back ]